2017年3月30日星期四

An accidental chance to trigger the transformation of vertical milling machine!

This happened in 2002, when a customer complained that our vertical milling machines had problems.The customer can not use the machine when it is reworked.It was already more than 10 o'clock in the evening, and we summoned the meeting.
XQ6226W
After understanding we found that it is a vertical milling machine XQ6226, customers in the use of our accessories to re-processing can not meet the requirements. We called the design director overnight to study how to solve the problem. At first we were confused why we sold more than 100 sets of this type of milling machine has not found such a problem. Through the analysis, we understand that many customers have purchased this machine but rarely use or simply do not use this feature. Designers are designed to consider adding horizontal milling to vertical milling machines, but only as an auxiliary function, only for small workpieces or very simple processes. Because this customer made such a request, so we uphold the concept of customer service, to consider how to be in the original vertical milling machine based on the increase in horizontal milling system? In this machine to increase the horizontal milling structure is easy, so we overtime to design a vertical & horizontal milling machine. After returning to the customer, the customer soon promised to purchase another one.
It was already a little early in the morning, and I suddenly thought that while adding the horizontal milling system, there was a problem when the customer used the horizontal milling cutter, because the milling arm was short and could not be fitted with a horizontal milling cutter. I called the technician together to discuss the problem, the time is already more than 2 am. I made it possible to lengthen the vertical gearbox, which is theoretically possible. But the weight of the gearbox is large, too long will affect the stability of the machine.
milling head
So we reinforce the structure of the gearbox base.
I would like to tell you that the realization of a function can not only consider the part, but to consider the whole. This is a high demand for an engineer. The following is a brief introduction to this milling machine XQ6226W.

2017年3月29日星期三

What is a universal milling machine? How so much!

Universal milling machine can be split vertical universal milling machine, horizontal universal milling machine and vertical&horizontal universal milling machine. Initially we call the multi-purpose milling machine universal milling machine, and some countries to vertical milling machine called universal milling machine, also has a horizontal milling machine called universal milling.
 Different countries on the universal milling machine understanding of different, why different machines will have the same name? The milling machine was first made by the American E. Whitney in 1818 to create a horizontal milling machine. In order to milling the spiral groove of the twist drill, the American J.R. Brown created the first universal milling machine in 1862, which was the prototype for the milling machine.

I am specialized in the production of universal milling machine for 33 years. At work, I often run into such a customer, want to purchase universal milling machine, we recommend him after the relevant products and he does not match the need. Some customers do not have the required milling machine pictures and information so it is difficult to determine the type of milling machine.
For example, a Russian customer and a German customer need the same product, the German customers eventually purchase the right product. But the Russian customers do not know whether it is language unreasonable reasons, according to the translation of the final decision to purchase a turret milling machine. There is an Indian customer came to my company that in order to find me with three years. I'm sorry to see this friend. Asked him the demand, he said the need to process a multi-angle vertical universal milling machine, the main feature is the use of multi-angle, the product must be a clamping, while processing two planes, and also need a groove. At that time customers because of financial reasons can not purchase high prices of machine tools. We spent 45 minutes tothe customer with a turret milling machine to transform a milling machine, is the turret milling machine on the basis of the increase in the horizontal milling function. Is our product X6325W.
At that time the customer was pleased to order 12 machines. This program not only in the case of insufficient customer funds to meet customer needs, but also to solve the technical problems. This is our first universal milling machine. We call it a vertical turret milling machine.
Here I will briefly introduce this product.1, there are vertical milling and horizontal milling function; 2, vertical milling head is Taiwan milling head precision high speed is also high; 3, vertical milling head can rotate about 90 degrees before and after rotation 45 degrees; 4, Before and after the table, the left and right four directions can be automatically feed; 5 up and down can also be installed lifting system. The general vertical milling machine is to install some special accessories to achieve the horizontal milling function, the same some horizontal milling machine is also through special accessories to achieve the function of vertical milling. But these special accessories have the same shortcomings, that can not be used as a main function, can only be used as a subsidiary. This is the most critical.

Vertical and horizontal dual-use universal milling machine to solve the above deficiencies. It gives full play to the advantages of vertical milling machine and horizontal milling machine, power, torque, in the processing and production played a significant role. Most users tend to use more than one machine, saving money. Not only that, this vertical and horizontal universal milling machine can also be transformed into economic CNC milling machine, coupled with high-precision screw can achieve machine automation.

Do you know how the development of vertical milling machines has gone through the process?

From simple milling machines to simple CNC machines, and then to CNC machine tools, the development of vertical milling machines has been going on for decades. From the ordinary machine to CNC automation, it can be said that the mechanical revolution milestone, but also an important part of human progress.


Ordinary milling machine on the operation of the technical requirements of workers is high, and CNC milling machine on the technical requirements of people becomes very low. On the one hand CNC milling machine to reduce the labor intensity of the operator; on the other hand CNC milling machine processing of the workpiece standard uniform, the installation of the next step to provide a convenient, but also shorten the matching process of the workpiece.

CNC machine tools coupled with the knife can be transformed into a machining center, to meet a workpiece processing a number of processes at one time. While the ordinary milling machine in this regard can not meet the requirements.

After 2000, in the machining center based on the transformation into the turning and milling complex machining center, but also to meet the needs of both the workpiece needs to be cut milling requirements.
It combines the functions of milling machines and lathes to meet the needs of high precision, multi-type work, for mechanical development is a leap.


2017年3月26日星期日

Universal Milling Machine LM1450 operating 04

CNC Transformation of Vertical Milling Machine (Continued)

#VerticalMillingMachine 
#UniversalMillingMachine 
Today we come to give a detailed example of how an ordinary vertical milling machine is transformed into a CNC vertical milling machine. Now a lot of customers engaged in the machining industry, found that ordinary vertical milling machine processing speed, efficiency and accuracy is low, but if the procurement of common processing center and CNC machine tools, the cost is too high, take too much money. Many customers reflect this situation to us, hoping to improve the processing efficiency and precision of ordinary milling machines. After my company's technical team of R & D and transformation, our XQ6232WA transformed into a CNC vertical milling machine, greatly improving the processing efficiency and accuracy. Here we compare the transformation of the machine with the original machine after the difference.
Figure 1 Ordinary Vertical Milling Machine 
Figure 2 CNC vertical milling machine 
Figure 3 Ordinary Vertical Milling Machine (XQ6232WA)
Figure 4 CNC vertical milling machine (XK6232WA)
1. Drive different: figure 3 and 4 show the assembly of the elevator.
From the figure we can see that the ordinary vertical milling machine transmission mechanism is carried out by the gear meshing transmission, and CNC vertical milling machine is used servo drive, remove a lot of gear.
2. Screw different: ordinary vertical milling machine is used in ordinary T-type screw, while the CNC vertical milling machine is used in the ball screw. Ball screw with the benefits of servo controller is to control the high precision of the machine, in the processing of the workpiece can also be followed by milling milling, and ordinary screw in the mechanical processing can only reverse milling.
3. System: CNC vertical milling machine is used the CNC system from Guang Tai, and ordinary vertical milling machine only has a digital display.
The rest of the transformation of the basic same as above, such as the table and so on. The cost of the machine is much lower than that of the ordinary CNC milling machine, but it is not much worse in performance. It can also be programmed on the machine tool to realize automation and batch processing.

2017年3月24日星期五

Universal Milling Machine LM1450C display

CNC Transformation of Vertical Milling Machine

With the continuous development of the market and the continuous improvement of industrial level, people are increasingly demanding mechanical automation.
With the continuous improvement of labor costs, intelligent products continue to develop, CNC products have entered the machinery industry. The initial stage generally through the ordinary vertical milling machine, horizontal milling machine with CNC system, to achieve CNC machine automation. For example: SK5032, SK6132 is through this transformation of the production of products.

Whether the vertical milling machine or horizontal milling machine, are the original mechanical feed part of the abolition, the use of servo control feed. Mechanical work combined with the use of iron-plastic material, this material is characterized by wear-resistant, easy to reduce the friction in the feed, so that the machine running more smoothly. But pay attention to this kind of iron plastic material must use the lubrication system, or will soon be damaged. Need to change the ordinary T-shaped screw into a ball screw. This screw running smoothly, high precision, high demand for installation. Coupled with the servo motor, a simple and economical CNC vertical or CNC horizontal milling machine is completed.








2017年3月23日星期四

Universal Milling Machine LM1450 operating 03

Vertical turret milling machine

#VerticalMillingMachine 
There are many types of vertical milling machines: 1 vertical milling machine, 2 vertical bed milling, 3 vertical drilling and milling machine, 4 vertical turret milling machine, 5 vertical rocker milling machine.
This article will focus on vertical turret milling machines.
Vertical turret milling machine is the earliest name of the turret milling machine, mainly divided into No. 2 milling machine, milling machine No. 3, milling machine No. 4, milling machine No. 5, No. 6 milling machine. Its main structure is: bed, lift, slide, table.



The main feature of this vertical milling machine is the bed and the base is one. No. 2, No. 3 milling machine structure is the dovetail structure. No. 4 milling machine lift is a dovetail structure, its bed is a giant rail. No. 5, No. 6 above the milling machine lifts and beds are giant rails. This is the most important feature of the turret milling machine.
Milling head can be rotated 90 degrees left and right, front and back rotated 45 degrees. Milling head can be divided into section milling head and no section milling head, the maximum speed can reach 5400 r / min. This milling head processing high precision, and more for the abrasive manufacturing industry.



The belt drive system can be easily adjusted. The pulleys are made of aluminum alloy, which are subjected to dynamic balancing, so the stability of the rotation is very good.
Spindle teeth have been chrome-plated, the hardness is very high, to HRC60 or more, durable wear, greatly improving the service life. Milling head is generally divided into 3 horsepower and 5 horsepower. Materials are ordinary and standing steel. Standing steel milling head for the square, the speed is generally around 3600, but its rigidity, compared to ordinary milling head stability, cutting force. This milling machine automatic feeding system using more electronic feeders, stepless speed regulation, easy to use and easy maintenance. Turret milling machine sales are relatively large, and more for the manufacture and maintenance of abrasive and home use. In the extension arm can be installed on the plug, for the insertion of some keyway.


2017年3月22日星期三

Vertical Milling Machine LM1450 Automatic power off protection

Development of Vertical Milling Machine (Continued 3)

With the development of the market, there have been new vertical milling machine was developed, such as the development of vertical milling machine in 1999 ZX7550C, ZX7550W. These are all developed from simple vertical milling machines. Here I would like to introduce ZX7550 vertical milling machine.


Milling part is composed of gear transmission mechanism, there are 8 speed.
Drilling the largest diameter (mm): 50
End mill maximum width (mm): 100
Maximum tapping diameter (mm): M16
Spindle end to table distance (mm): 70-420
Spindle speed range: 110-1760
Spindle travel (mm): 120
Worktable size (mm): 800X240
Worktable travel (mm): 400X230
Dimensions (mm): 1290X1140X2100
Motor power (KW): 0.85 / 1.5
Net weight / gross weight N.W / G.W (KG): 610/770
The bed is a dovetail rail, the table is also a dovetail structure. No horizontal milling function, arm can move around before and after. In some places this milling machine is also known as a drilling and milling machine, because it can be drilled. Also known as rocker milling machine: because of its arm can swing. The automatic feed system uses a mechanical feeder for gear transmission. This compact size is very suitable for home use and tool maintenance. Then in 2000 developed the ZX7550W vertical milling machine, it is in the ZX7550C machine to increase the horizontal milling function, but this section is a belt drive.


The development of these two milling machines is a major breakthrough in the development of tool milling machines, laying a good foundation for the future development of vertical milling machines.
ZX7550C basic accessories:


In the next article, I will introduce the turret milling machine.

2017年3月21日星期二

LM1450 operating 02

Development of Vertical Milling Machine (Continued 2)

Vertical milling machine in the market occupies a high proportion, because it is easy processing, power, it is suitable for enterprise production and parts processing, is widely used in manufacturing, parts processing, maintenance and other fields. With the development of the market, farm maintenance and small machinery single product processing is not suitable for the. Because he needs the workers professional, maintenance professional, the venue must meet the professional can. According to the needs of the market to some customers, more features, small size, easy to use do not need too much professional. The following is a machine on a vertical milling machine plus a horizontal milling functions.



The machine first changes the milling part of the vertical milling machine, which not only has the milling function but also has the function of drilling and tapping, and the milling head can rotate about 90 degrees, and the milling head can swing 45 degrees , Can also move back and forth, so that the processing is very convenient.





This machine is our official production in 2001, has been 16 years, in the market has been praised by customers.
Workstations, beds, lifts are hardened, the surface for the HRC38-48, durable. Equipped with 06 mechanical system, there are 12 speed, to meet the diverse needs of customers. Very suitable for farm maintenance and small machinery single product processing, the environmental requirements are not high. This is the original design of vertical milling machines and horizontal milling machines as well as universal milling machines. Electrical control is low voltage 24V control, safe and reliable, in line with CE standards. This is our first transformation from the vertical milling machine research and development, for our future development has laid a good foundation.

2017年3月20日星期一

#UniversalMillingMachine #VerticalMillingMachine LM1450 operating 01

Development of Vertical Milling Machines (Continued)

Vertical milling machine With the changes in the market, especially in some industrial development relatively backward countries and regions, because the price of the reasons there are still some manufacturers to develop some simple structure, relatively low prices of products, such as: X5036, X6325 and so on. Because some countries and regions of their machinery manufacturing industry is relatively backward, the use of the process which will encounter maintenance, operation and other issues. For example, although the X5032 machine performance is stable, but in terms of maintenance if there is no professional and technical personnel is difficult to deal with some technical problems. Maintenance costs will be high, the user is difficult to bear. If the lack of professional maintenance personnel in a timely manner maintenance, the machine is also very difficult to meet the requirements of the factory. X5036 vertical milling machine although the structure is simple, but it is easy to use, low cost, easy maintenance, so this vertical milling machine in the market is very popular. Its structure includes: 1 base 2 bed 3 carriage 4 gearbox 5 milling head 6 lift. This machine first changed the original machine drive system, is an independent gearbox, simple structure.

The sliding surface of the lift and bed uses a giant rail, so the stability of the machine will be better. Its feed box is independent, using bolts to connect the carriage for easy disassembly and repair. Lifting with a separate motor, maintenance is very convenient. Once on the market, very popular with customers.

In the slide longer processing, making the stability of the processing is very good.

The development of vertical milling machine

#VerticalMillingMachine 
Vertical milling machine is the most representative models: X5032 is the first of the former Soviet Union a machine, its components are: 1 base, 2 bed, 3 milling head, 4 lift, 5 saddle, 6 table composition. The spindle taper is ISO50. The most important feature of this machine is the structure is stable, because the overall structure of the bed is very stable when used, the overall material is more than HT250 gray cast iron. The overall weight of this machine is 2900 kg.

1 base: the main carrying the entire machine weight and cooling function.
2 bed with the overall design, stability is very good, the internal structure with gear variable mechanism is the most important part of the machine.
3 The milling part is a variable speed device that passes through a pair of chrysanthemum bevel gears on the bed and then passes to the spindle section and passes through the bed section.
4 lift with the bed is mainly to bring the table up and down movement, and with the feed box drive the entire machine feed.
5 saddle mainly play the role of supporting the table, up and down to connect the lift and the table carrying the workstations of the left and right movement.
6 T-slot on the table to play the role of clamping the workpiece.
In the production process to go through processing, scraping research, assembly, testing, testing a few processes. Precision machining to ensure the accuracy of assembly, scraping precision to ensure the accuracy of the entire vertical machine is very important, and now some factories with fine grinding instead of scraping research, this method is fast and convenient but greatly reduced the service life of the machine. So you need to pay more attention when buying machine tools.

2017年3月17日星期五

A lathe automatic feed of the elevator milling machine

The utility model relates to the field of machine tool, and in particular to a high table milling machine bed.
Background technique
In the prior art, the same kind of drilling and milling machine has a wide variety of styles, but most of the operation is inconvenient, the table size is insufficient, and the large workpiece can not fit. The ram is mostly manual feed mode, low efficiency, low processing precision.
Utility model content
In view of the above-mentioned deficiencies of the prior art, the utility model provides a simple and convenient operation and processing precision high, good stability, table size of 2000mmx600mm, ram can be driven by the motor automatically driven by the lift milling machine.
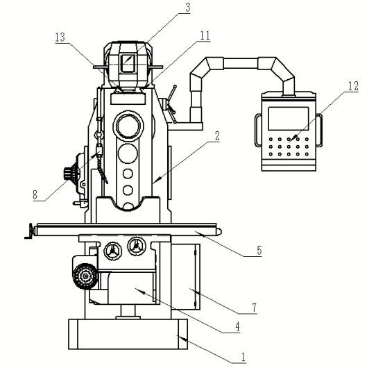
The technical scheme of the utility model is that a milling machine for automatic feeding of a large workpiece ram includes 1 base mechanism, 2 bed body, 3 universal milling machine, 4 liter descending mechanism, 5 table mechanism , 6 sliding box mechanism, 7 electric box mechanism, 8 cooling mechanism, 9 lifting rectangular guide, 10 longitudinal dovetail rail, 11, ram slide swiftle guide, 12 operating box mechanism, 13 ram automatic feeding mechanism, which is characterized by: And the bed mechanism is fixed to the base mechanism by bolts, the lifting and lowering mechanism is arranged in front of the bed body and is connected by a lifting rectangle guide; the table mechanism is arranged on the top of the lifting and lowering mechanism and passes through the longitudinal dovetail And the slide rails are arranged on the bed body through the ramen swiftle guide rails; the gear shaft meshes with the racks in the ram box mechanism to realize the front and rear movement of the ram box. In the lower part of the ram box is equipped with a ram automatic feeding mechanism, through which the ram can be driven automatically driven by the motor.
Easy to save time and effort. The front of the ram box is provided with a universal milling head mechanism and fixed by bolts. The cooling mechanism screw is fixed on the base mechanism to realize the cooling of the whole machine tool.
The ram feed mechanism includes a ball screw, a gear, a spline shaft, and the like. The spline shaft is arranged in the ram box, and the transmission gear is mounted on the spline shaft. The gear is engaged with the power gear on the main drive shaft of the slide box and is engaged with the feed gear on the ball screw. The ball screw flange is fixed on the female body and the female holder is fixed under the ram box and connected by bolts. One end of the screw is fixed on the support base, and the support base is fixed to the bed body by bolts.
The table body is widened to 2000 mm x 600 mm in length on the basis of the original, which can satisfy the processing needs of the vast majority of the workpieces. The table and the lifting mechanism are engaged with the longitudinal dovetail rail, and the table can be moved in the longitudinal direction, and the workpiece can be precisely machined by the front and rear movement of the sliding box mechanism.
Description of the drawings.
Figure 1 is a front view of a lift table milling machine with a large work table ram.
Figure 2 is a left view of a lift table milling machine with a large work table ram ride.
Figure 3 for the ram automatic feeding mechanism assembly diagram
The drawings are shown.
1 for the bed body, 2 for the base mechanism, 3 for the universal milling machine body, 4 for the lifting platform 5 for the table mechanism, 6 for the ram box body, 7 for the electrical box mechanism, 8 for the cooling mechanism, 9 For the vertical and horizontal dovetail rails, 10 for the longitudinal dovetail rails, 11 for the rams dovetail rails, 12 for the operation box mechanism, 13 for the ram automatic feed mechanism, 13-1 for the power gear, 13-2 for the transmission gear, 13- 3 for the spline shaft, 13-4 for the feed gear, 13-5 for the screw flange, 13-6 for the support seat, 13-7 for the ball screw, 13-8 for the screw seat.
Figure 1
Figure 2
Figure 3
Through the two pairs of gear meshing power transmission to the bottom of the ball under the ball screw, the ball screw drive to drive the front and rear movement of the box. In the side of the pillow box is equipped with a handle seat, through the handle seat rotation can make the box in the spline shaft gear and the main drive gear in the ram box to achieve the combination and disengagement, can effectively control the ram feed.